Opis
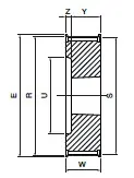
producent SIT wymiary 0 x 55,23 x 31 waga 0,27 kg bo – szerokość paska [mm] 100 (1″=25,4 mm) cecha bez piasty cecha koło z obrzeżami cecha otwór pod Taper Lock E [mm] 64 liczba zębów [szt.] 14 materiał stal węglowa C45 / 1.0503 / AISI1045 S [mm] 55.23 typ produktu koło pasowe zębate W [mm] 31 współpracuje z Taper Lock 1108 Y [mm] 22 Z – głębokość [mm] 9 wykonanie 4 profil H ds [mm] 0 R [mm] 56.6 U [mm] 37







